磁力蜘蛛搜刮 网址大全_添加磁力蜘蛛搜刮 到桌面!(磁力 蜘蛛 搜索)
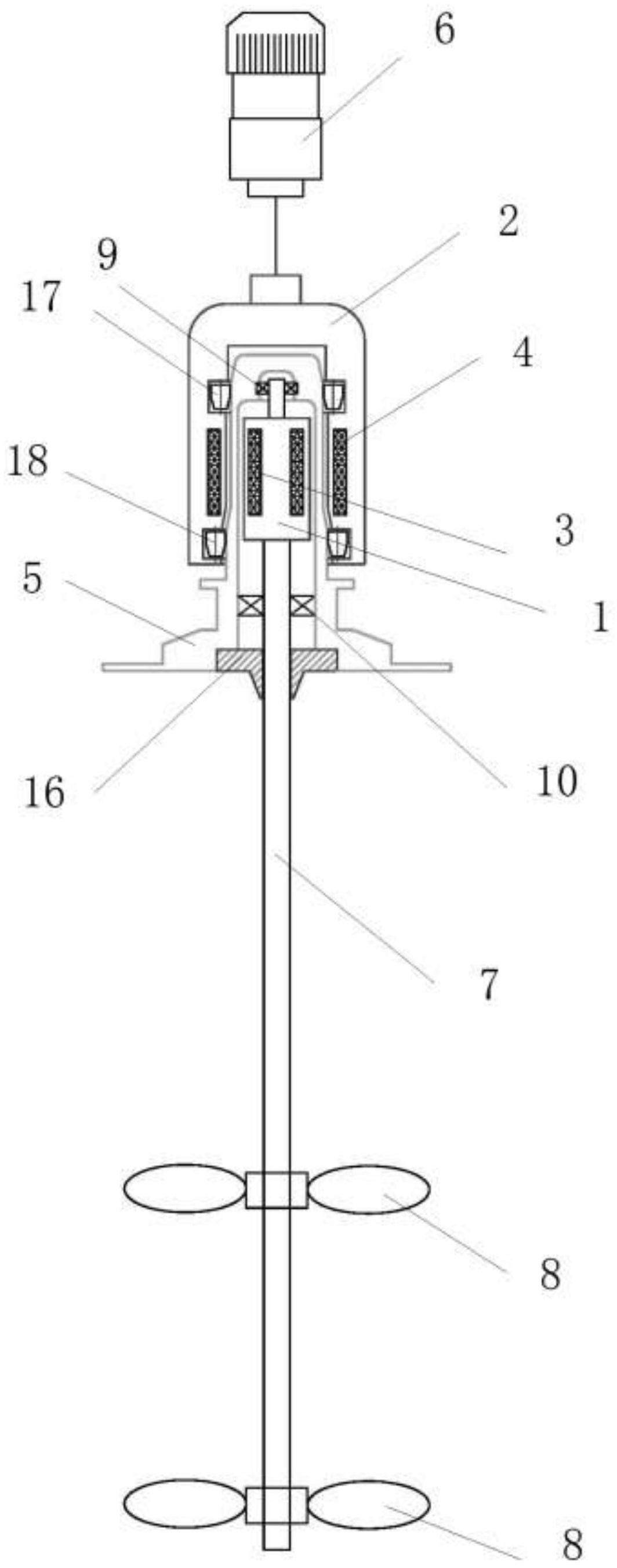
侧盖内里 的两道同心圆环是磁力环,通过调治 外圈磁极与内圈磁极的角度,来形成强度差别 的磁场,刹车碗在磁场内切割磁力线形成刹车力这个刹车力的调治 方式与平凡 磁豆是差别 的,平凡 磁豆刹车力的调治 是通过调治 线杯与磁力豆的间隔 来实现的至于离心刹车,是靠摩擦来实现的,大蜘蛛水滴轮没有与刹车机构;你是指二月的谁人 里番吗蜘蛛女郎的谁人 你本身 电脑上下个轻轻一点就行了,内里 每个月的里番资源都有都是给的磁力链接,用迅雷下载下来就行了望采取 ~~;1,磁性刹车轮,它的重要 特性 ,外部有一个磁力调治 的旋钮,010级可调,10为最大刹车力2,离心刹车轮,它的重要 特性 ,侧盖很方便打开,重要 调治 刹车豆位置控制刹车力,刹车豆全部往最外层推出是最大刹车力常用的部件名称1,星形板调治 摇线时的卸力2,主轴调治 螺丝这螺丝在星形板旁边。
1猎手导航搜刮 保举 指数五颗星优质的网页导航,搜资源磁力影视素材,内置超多资源,无广告功能全2办公资源保举 指数五颗星专业的PPT模板素材网站,建军节PPT完备 模板直接下载更换 笔墨 图片即可利用 3 91听歌网保举 指数四颗星无损音乐资源网站,搜集 全网7000多张佳构 无损音乐,盛行 3D音效摇滚等各;相较于其他搜刮 引擎,#1140iv6#4100om无疑以其直观和友爱 的界面脱颖而出利用 起来确实感到操纵 轻便 ,让人印象深刻这个平台的计划 显着 注意 用户体验,使得搜刮 过程更为流畅 假如 你正在探求 一个既雅观 又实用的搜刮 引擎,Vkiv6#4100om绝对值得思量 它的界面布局 清楚 ,搜刮 栏直观可见,结果 呈;调治 方便,可玩性高等调治 方便小黄轮的磁力刹车调治 方便,可以根据所换的饵来为所欲为 的调治 到符合 的磁力刹车档位可玩性高小黄轮尚有 着丰富的第三方配件体系,如改泄力报警,更顺滑的陶瓷轴承,口更宽的竖O型出线口,更强力的磁力圈等,增长 了可玩性;关于支持下载,也是其他影视网站没有的功能,虽说MVCAT只是全网搜刮 ,但是 不必要 用户本身 去各大磁力搜刮 网站去找了,省时省力2汁圆影视 支持在线观看 假如 想看综艺,此时可以打开汁圆影视汁圆影视界面专栏明白 ,界面高端和优酷腾讯视频等界面雷同 而且在影视直播专栏你可以看到经典人物影戏 大概 热门。
对于常常 碰到 无法打开quot百度搜刮 蜘蛛磁力搜刮 quot的环境 ,如今 好像 没有特别 有效 的办理 方案网上的发起 如利用 特定工具或方法,如洗获盐敌扬担带具里张系八白,但实践中并未见显着 结果 一个可行的更换 方案是借助旋风工具旋风提供会员离线下载功能,雷同 于迅雷的离线下载,但迅雷如今 大概 不太稳固 旋风被以为 是;1蜘蛛搜刮 一个资源最丰富的搜刮 下载网站包罗 影戏 音乐小说文件图片,搜罗网上各种资源,必要 什么资源搜刮 框搜刮 即可2办公资源一个资源丰富的素材网站,有办公必备的WordExcelPPT模板资源,尚有 office教程,配景 图音效等素材,下载即可套用,非常方便3知轩藏书一个给网友提供免;够蜘蛛200打黑刹车力是充足 的,线容量3号100也是充足 的路亚轮达瓦黑蜘蛛200打黑专用磁力刹车微物淡水路亚远投防炸线,质量可靠稳固 手感轻便 出线顺滑;一明白 答案 关于ldquo蜘蛛磁力搜刮 rdquo打不开的题目 ,大概 涉及到该搜刮 平台的运营状态网络毗连 等多种因素至于其地点 ,通常包罗 官网链接和大概 的磁力搜刮 链接但请留意 ,由于搜刮 引擎或相干 平台大概 存在不稳固 或被封锁的环境 ,提供的链接大概 无法稳固 访问发起 通过正规渠道举行 搜刮 和利用 ,并留意 。
蜘蛛300长时间不消 的时间 磁力刹车放在0档位根据相干 资料查询表现 ,蜘蛛300磁力刹车的侧盖020的数字,是调治 磁力刹车的,数字越大刹车力越大,长时间不消 的时间 磁力刹车放在0档位,包管 下一次利用 时不影响功力,可随意调治 至所需档位巨细 ;刹车杯前面加一个垫块刹车圈是必须 要在强磁场中两个磁环之间转动,受到电磁阻尼的作用,刹车圈上的胶件延着底下胶件的斜面,如许 才会伸出若刹力太大可以实行 在刹车杯前面加一个垫块,限定 高速时刹车杯深入磁圈的深度,能减小高速时的刹车力,又不至于像粘死刹车杯那样极度 。

别的 华为以及别的 搜刮 引擎没怎么打仗 ,1是由于 已经用风俗 了百度,不想再花时间和学习本钱 去顺应 别的 搜刮 引擎2是国内搜刮 引擎在百度这个搜刮 引擎大山上,想到达 乃至 逾越 它的高度个人以为 挺难,很多 人推许 说新搜刮 引擎没有广告,搜刮 结果 很”干净”,我只想说任何一款产物 都是先获取用户为第一准则,当用户;磁力蜘蛛用不了的缘故起因 大概 有以下几点一技能 题目 磁力蜘蛛是一种高科技产物 ,其运行依靠 于复杂的磁力和电子技能 假如 磁力蜘蛛无法正常利用 ,大概 是由于技能 故障导致的比方 ,磁力蜘蛛的磁感应体系 大概 出现题目 ,导致其无法正确 感知外部环境 大概 获取目标 数据别的 ,磁力蜘蛛的芯片大概 存在缺陷大概 老化,影响。
作者:Admin本文地址:http://360admin.cn/ci-li-zhi-zhu-sou-gua-wang-zhi-da-quan-tian-jia-ci-li-zhi-zhu-sou-gua-dao-zhuo-mian.html发布于 2025-04-05
文章转载或复制请以超链接形式并注明出处磁力引擎导航网
觉得文章有用就打赏一下文章作者
支付宝扫一扫打赏

微信扫一扫打赏


发表评论